中国某某政府网站欢迎您!
咨询热线:010-87205552
华夏建设人才培训网
  • 没有文本
  
  
近期培训
大型国企建设集团解散!
来源: | 作者:longjijianshu | 发布时间: 2025-12-01 | 171 次浏览 | 🔊 点击朗读正文 ❚❚ | 分享到:
来源:济宁人小小孩、财经生活帮等



大型国企建设集团解散


11月3日,潍坊滨城建设集团有限公司发布一纸公告,潍坊滨海投资发展有限公司将吸收合并滨城建设集团

吸收合并完成后,滨城建设集团将解散并注销登记,所有债权债务由存续的潍坊滨海投资发展有限公司承继。

图片
图片

滨城建设集团成立于2014年,注册资金10亿元,实控人为潍坊滨海经济技术开发区国有资产管理办公室(持股比例90.8332%),该公司目前存量债券2支,金额共计5.2亿元

针对市场关注的债券问题,企业明确表示“21滨建01”及“22滨建01”两期债券的偿付能力不会受到合并影响。公司计划于2025年11月25日召开专项会议,与债券持有人充分沟通后续处置方案。

此次吸收合并严格遵循《公司法》相关规定进行。合并前后,滨城建设集团与滨海投资将签署合并协议,确保合并前两家公司的债权、债务由合并后存续的滨海投资承继。

在吸收合并公告期限后,滨城建设集团将办理注销登记。截至目前,滨城集团正在办理相关工商变更登记手续。



负债问题严重


值得注意的是,今年八月,上海市闵行区人民法院曾经对这家公司开出过限制消费令,原因是民间借贷未及时给付

该公司已需寻求民间借贷,这通常意味着其面临严重的债务压力,同时也在很大程度上反映出其在银行系统的融资信誉不佳,否则不会转向此类高成本的融资渠道。

图片

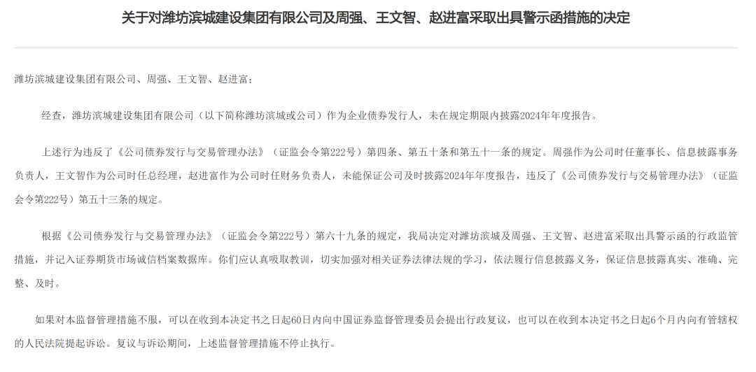
2025年7月,中国证券监督管理委员会山东监管局发布《关于对潍坊滨城建设集团有限公司及周强、王文智、赵进富采取出具警示函措施的决定》。

山东证监局官网显示,潍坊滨城作为企业债券发行人,未在规定期限内披露2024年年度报告。对时任董事长兼信息披露事务负责人周强、时任总经理王文智以及时任财务负责人赵进富,山东证监局依规采取出具警示函的行政监管措施,并记入证券期货市场诚信档案数据库。

图片

根据公开信息可推测,潍坊滨城建设的年报“难产”绝非技术性延迟,而是公司治理与财务健康亮红灯的信号。

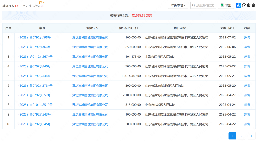
在企查查查询可以看到,企业先后18次被列为被执行人,被执行额度约1.26亿元。

图片

企业及法定代表人已先后多次被限制高消费。

图片

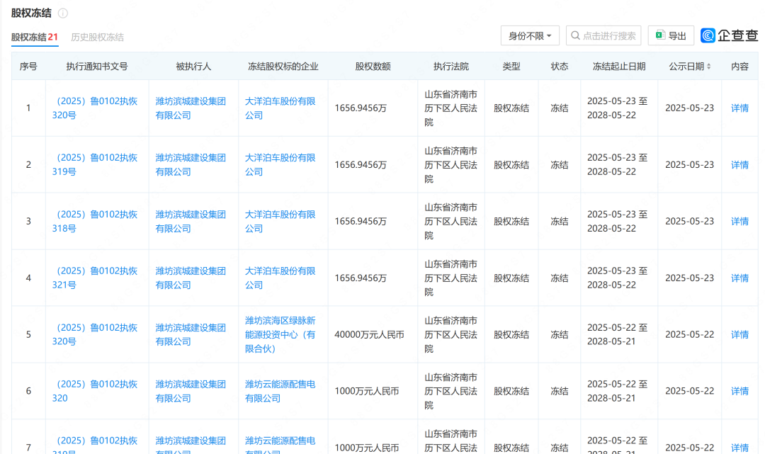
企业多项对外投资股权已被冻结。

图片


建筑类企业合并潮的背后


并不止是这些地方建筑国企在合并,就连中建、中铁也在搞合并浪潮。

图片今年11月7日,中建六局和中建丝路整合重塑。六局是施工大局,有资质有人才,中建丝路则是一家融资公司,运营、投资是主业。

先说说原因吧,建筑行业高速增长时代已经过去,以前遍地是工程的盛况再也不会有了;取而代之的是几千家企业争抢一个工程的内卷,这种情况下,企业之间的内卷也加剧了,谁资质更强、人才最多,资金、资源最厚,谁才有资格拿到项目;所以,合并整合资源也就顺理成章了。

建筑行业从遍地开花进入到抱团取暖,共分一杯羹活下去的时期了

另一个原因就是合并可以瘦身,可以借壳重生。

拿山东这家建筑国企举例,公司陷入民间资本借贷的泥潭里,高额的负债已经没办法正常运营了。但解散后就可以趁机给公司大瘦身,只留下核心人员,其余员工都清退了。解散被别的企业吸收后,债务问题也解决了,借助新的公司平台就可以重新运营,接活赚钱。

据悉,去年全国有2400多家建筑企业破产,可见建筑行业在高速收缩;而不管是楼市还是经济层面,短期内行业都会处于阴霾期,也只有抱团取暖才能活得更久一点。

合并整合是无奈之举,也是饮鸩止渴,建筑行业的终局一定是淘汰掉大部分的企业。


    
  
信息公开